一、产品介绍:
空气敲击锤是欧顿公司研发中心结合国际先进技术研发的新型敲击装置,其特点是撞击力大,结构简单,使用方便.可有效解决粉体物料生产过程中的粘壁、挂料、堵塞、架桥等情况且对料仓无损伤和变形。冲击力大,噪音小,多种型号可供选择。冲击力和动作时间可控制,安装方便。可在防爆、多粉尘、潮湿等环境中使用。广泛适用于化肥,化工,食品,医疗,农药,玻璃,水泥等行业。
大部分的堵塞与粉粒体的特殊性质有关
粉粒体一般带有流动性、偏析、分散性、附着以及凝固、磨耗、带电等特殊性质。由于上述特殊性质,粉粒体容易附着于料仓壁,引起桥形堵塞、弓形堵塞鼠洞形堵塞、仓壁附着等现象。
二、产品热点:
1、磁力冲击力大,落粉效果好、运行成本低、节能效果好。
2、自动化敲击解决粉物料因粘壁架桥引起的料仓堵塞,敲击频率、周期可调(需配ODKX系列自动控制箱)。
3、通过调节供气气压大小来调整敲击力度,此外,敲击音的大小也可通过调整气压大小得到控制。在安装工程中,由于型号选择不妥出现能力过强或不足等误差现象时,同样也可以通过调整气动敲击器自身敲击力度解决。
4、结构简单,拆卸方便、维护方便,质量可靠,故障降低,十分环保。
5、产品通过100万次敲击次数试验检测。构造简单基本无需保养,高设计水准的耐用性能及简单的构造基本无需保养。在长年的销售业绩中由于产品故障少且无需保养而深受客户好评。
6、整体采用高强度铝合金热化处理,外表高温防腐考取处理,为您的设备添光彩。
三、型号定义:

备注︰
*欧顿公司第五代气动敲击锤产品获多项专利产品,其配置高于同类产品,内部核心技术使得产品在同行业内无法超越,该产品在国内销量领先。
*此次产品升级,同时注册了新的产品型号ODC系列取代原来型号ZC和SK,安装尺寸为更改请放心选择,给您带来不便敬请谅解。
四、工作原理:

五、产品选型及规格型号:
气动敲击锤的选定如图所示,大致以60度的圆锥料斗作为基准,根据直径(D)和圆锥部分的板厚(t),由图来选定气动敲击锤的型号和台数.例如设料斗直径(D)是1500mm,板厚(t)是3mm,由图可知选择60型,台数为2台.并且有时因料斗的形状(角锥,圆锥)及其中的粉体的物性,状态等不同,略有差异。

注意∶料仓材质有差异,气压大小、储存物料的特性(含水分、比重、粒径)也会造成不同程度的堵塞,选型时要适当考虑。
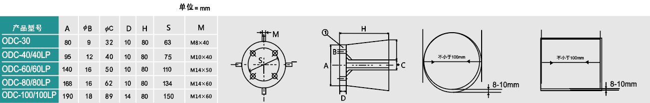
六、技术指标:

备注:LP为活塞加强型,可直接敲击被安装体,产生的冲击力大于标准型号。
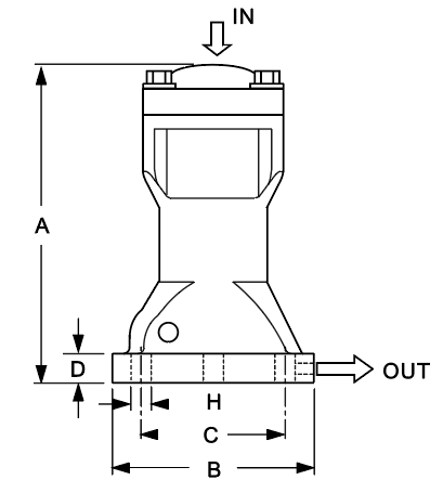
七、外形尺寸:
备注∶型号ODC为ZC/SK型号新编,完全可替代使用,加强型与标准型外形尺寸相同。 | ![]() |
八、安装事项:

九、底座尺寸:

十、安装与保养:
1、安装部分需加加强板,并满焊接牢固,否则冲击力会使局部造成变形或破损;
2、为了防止脱落,请用钢丝索将气动敲击锤吊挂在安全固定的地方,避免冲击力使安装螺母松动脱落,造成损失;
3、安装气锤本体与底座时需加装弹簧垫和平垫,并定期进行螺母紧固力检查;
4、气动敲击锤应使用洁净空气,避免造成设备运行故障;
5、安装底座应加焊加强筋,增强底座的牢固性;
6、环境恶劣工况下使用,应每隔一个月左右定期打开气锤内部配件进行清洗,安装时加入适量的润滑油
7、更多保养知识请仔细阅读产品说明书。





联系我们
在线留言
服务支持